Giới thiệu hệ thống giám sát môi trường cho hệ PV
Thiết bị giám sát môi trường PC-4 dành cho nhà máy điện mặt trời (PV) là một hệ thống di động, dễ sử dụng và có độ chính xác cao, cho phép giám sát đồng thời nhiều yếu tố khí tượng. Thiết bị có khả năng thu thập các thông tin như nhiệt độ, độ ẩm, hướng gió, tốc độ gió, bức xạ mặt trời và áp suất không khí, hiển thị dữ liệu và thực hiện phân tích xu hướng.
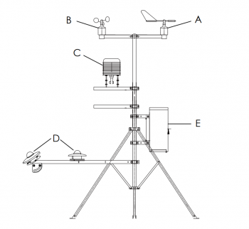
Cấu trúc của thiết bị giám sát môi trường PC-4 được thể hiện như sau:
-
A: Cảm biến hướng gió kỹ thuật số
-
B: Cảm biến tốc độ gió kỹ thuật số
-
C*: Tấm che bức xạ (bên trong đã lắp cảm biến nhiệt độ, độ ẩm và áp suất không khí)
-
D: Cảm biến bức xạ mặt trời
-
E: Hộp điều khiển trung tâm
Chức năng & đo lường chính
Thiết bị này thu thập và hiển thị dữ liệu nhiều yếu tố môi trường, dùng để phân tích hiệu suất vận hành hệ thống điện mặt trời:
-
📊 Nhiệt độ môi trường & độ ẩm
-
💨 Tốc độ và hướng gió
-
☀️ Bức xạ mặt trời
-
📈 Áp suất không khí
-
🌡️ Nhiệt độ tấm pin (module)
Lợi ích khi dùng Meteo Station PC-4
Theo dõi điều kiện môi trường toàn diện — giúp đánh giá hiệu quả sản xuất điện năng theo thời tiết.
Dữ liệu chính xác & đồng bộ — nền tảng để phân tích, báo cáo và tối ưu vận hành PV.
Tích hợp dễ dàng với hệ sinh thái Sungrow — giảm lỗi kết nối, tối ưu giám sát tập trung.
Hoạt động ổn định ngoài trời với cấp bảo vệ cao và nhiều tùy chọn nguồn điện.
Thông số kỹ thuật
Cảm biến tốc độ gió
| Thông số | Giá trị |
|---|---|
| Vận tốc khởi động | ≤ 0,5 m/s |
| Dải đo | 0 ~ 70 m/s |
| Độ phân giải | 0,1 m/s |
| Độ chính xác | ±(0,3 + 0,03V) m/s |
Cảm biến hướng gió kỹ thuật số
| Thông số | Giá trị |
|---|---|
| Vận tốc khởi động | ≤ 0,5 m/s |
| Dải đo | 0 ~ 360° |
| Độ phân giải | 3° |
| Độ chính xác | ±3° |
Cảm biến bức xạ mặt trời
| Thông số | Giá trị |
|---|---|
| Độ nhạy | 9,577 µV/W·m² |
| Độ chính xác | ≤ ±5% |
| Thời gian đáp ứng | ≤ 30 s |
| Dải phổ | 280 ~ 3000 nm |
| Điện trở trong | 184,5 Ω |
| Hệ số nhiệt độ | ±2% (-20°C ~ +40°C) |
| Độ ổn định hằng năm | ±2% |
| Dải đo | 0 ~ 2000 W/m² |
| Độ phân giải | 1 W/m² |
Cảm biến nhiệt độ mô-đun
| Thông số | Giá trị |
|---|---|
| Dải đo | -40 ~ +80 °C |
| Độ phân giải | 0,1 °C |
| Độ chính xác | ±0,1 °C |
Hộp điều khiển trung tâm
| Thông số | Giá trị |
|---|---|
| Điện áp vận hành | DC 12 V / AC 220 V |
| Chuẩn truyền thông | RS485 |
Thông số cơ khí toàn bộ thiết bị
| Thông số | Giá trị |
|---|---|
| Chiều rộng | 1 ~ 1,2 m |
| Chiều cao | 1,8 ~ 2,5 m |
| Trọng lượng | ~15 kg |
Cảm biến nhiệt độ môi trường
| Thông số | Giá trị |
|---|---|
| Dải đo | -50 ~ +80 °C |
| Độ phân giải | 0,1 °C |
| Độ chính xác | ±0,1 °C |
Cảm biến độ ẩm môi trường
| Thông số | Giá trị |
|---|---|
| Dải đo | 0 ~ 100 %RH |
| Độ phân giải | 0,1 %RH |
| Độ chính xác | ±2 %RH (≤80 %RH) / ±5 %RH (>80 %RH) |
Cảm biến áp suất không khí
| Thông số | Giá trị |
|---|---|
| Dải đo | 550 ~ 1060 hPa |
| Độ phân giải | 0,1 hPa |
| Độ chính xác | ±0,3 hPa |
Xem chi tiết thông tin sản phẩm tại đây!!







Review Sungrow Meteo Station PC-4 | Thiết bị giám sát môi trường cho hệ PV
Chưa có đánh giá nào.